1980년에는 이미 스티커 라벨러 분야에는 많은 제조사가 참여하여 안정화된 라벨기로써 확립된 상태였다. 그 당시의 라벨러들은 대지에서 스티커 라벨을 떼어내는 박리 장치에서 직접 용기에 스티커 라벨을 부착하는 방식으로 핸드 스티커 라벨러 및 유닛화된 스티커 라벨러 등과 같은 것이었다. 라벨 공급 및 용기 반송이 간헐적인 동작이며 부착 정밀도 및 성능은 그리 높지 않았다. 그러한 상황 속에서 본격적인 생산 라인에 합류할 스티커 라벨러의 개발이 요구되고 있었다.
KOYO에서는 지금까지의 롤 라벨러 기술을 활용하는 방안을 모색하면서 개발을 진행했다. 그리고 1982년에 1호기를 출하하면서 스티커 라벨러 분야에 진출하게 된다. 이는 “연속 라벨 이송 방식”으로 스티커 라벨을 떼어내 “진공흡인식 드럼”으로 흡인하여 회전 이송해 용기에 부착하는 것이었다. 이 방식에 따라 라벨의 부착 정밀도 및 속도를 현격히 향상시킬 수 있었다. 이 개발로 인해 호퍼 라벨러와 롤 라벨러를 합친 라벨러의 주요 기종이 갖춰지게 됐다.
그 후 스티커 라벨러는 다양한 신기술 도입 및 신기능 탑재에 따라 주력 제품 중 하나로 성장하게 된다.
어째서 드럼을 통해 라벨을 부착하는가?
기존의 스티커 라벨러는 직접 용기에 라벨을 부착할 수가 있었는데 어째서 번거롭게 드럼을 통해 부착하는 방식을 채용했는가? 그리고 드럼을 장비함으로써 비용이 늘어난다고 생각하는 사람이 있을 수도 있다. 그래서 우선 스티커 라벨러에서의 드럼 유효성에 대해 검토해보고자 한다. 라벨 박리 가이드는 드럼 표면에 닿는 정도로 가까이 설치된다(아래 그림).

따라서 라벨 박리 가이드에 의해 이송된 라벨은 대지에 붙여진 상태를 유지한 채로 순식간에 회전하고 있는 드럼 표면에 진공 흡착된다. 즉 라벨 한쪽이 공중에서 자유로운 상태가 되는 것을 최소한으로 통제하는 것이다.
박리 후 라벨의 전방부는 즉시 드럼 표면 측면의 진공흡인 구멍에 흡인된 상태로 유지되고, 라벨의 후방부는 대지 위에 부착된 상태이다. 즉 라벨 앞뒤의 끝부분이 유지되어 라벨은 안정된 자세를 유지하고 있다. 그리고 라벨 박리가 진행되면 점차 드럼 표면 측면의 진공 흡인에 의해 흡인 면이 확대되어 안정된 자세로 박리 가이드 위의 대지에서 떨어지게 된다. 그 후 드럼이 라벨을 흡착한 상태를 유지한 채 회전 이송하고 드럼이 용기를 누르면서 라벨을 부착한다. 이처럼 박리에서 부착까지의 과정에서 라벨의 상태를 흐트러뜨리는 불안정 요인을 개입시키지 않는 것이다.
이에 대해 박리 후 바로 라벨을 용기에 부착하는 방식으로는, 라벨의 선단부가 자유로워지는 불안정한 상태가 나타난다. 따라서 라벨의 부착 정밀도는 라벨 상태의 흐트러짐에 따라 저하하거나 용기 모양에 좌우된다. 또한 연속 라벨 이송에 의한 라벨 박리든 간헐 라벨 이송에 의한 라벨 박리든, 드럼에 의한 용기의 라벨 부착은 등속 회전 운동인 점에서 부착의 고속화를 도모할 수 있다.
스티커 라벨러의 부착 능력은 간헐 라벨 이송 박리식보다 연속 라벨 이송 박리식이 더 높다.
연속 이송 스티커 라벨러(LR-** P)
연속 라벨 이송 방식에 의한 스티커 라벨러 개발은 1980년쯤 시작되어 스티커 라벨러에 관한 특허가 연달아 출원됐다. 연속 이송 롤 라벨러(LR형) 1호기를 출하한 같은 해(1982년)에 연속 이송 스티커 라벨러 1호기를 음향 기기 제조사에 납품했다.
아래에서 그 스티커 라벨러에 관한 특허에 대해 살펴보겠다(아래 그림, 사진).


스티커 라벨러에 관한 특허
최초의 스티커 라벨러 모델은 라벨 박리 장치와 부착 드럼, 부착 스타 휠로 구성된 것이었다. 연속 이송에 의한 스티커 라벨의 공급과 라벨 위치 수정 기능을 장착한 부착 드럼에 의해 용기의 연속 반송에 대응한 고속 및 고정밀도의 부착이 가능해졌다(특허 출원 1981.11, 아래 그림).


또한 부착 드럼의 측면에 가열 장치를 설치해 스티커 라벨을 가열하여 접착제를 연화 활성화시킴과 동시에 스티커 라벨 자체도 연화시킨다. 여름, 겨울 상관없이 일정한 점착성을 가지게 함으로써 스티커 라벨이 뒤집히는 것을 방지할 수 있다(특허 출원 1981.12, 아래 그림).


다음 모델은 라벨 박리 장치와 부착 드럼과의 사이에 이송 드럼을 설치한 것이다.
스티커 라벨의 접착면을 이송 드럼에 부착하여 박리 가이드로 이송 드럼에서 스티커 라벨을 떼어내 부착 드럼에 전달한다. 이에 따라 고속으로 스티커 라벨을 떼어내 부착 드럼에 전달하지 못 하는 일이 발생하지 않게 된다(특허 1982.7, 아래 그림). 또한 박리 후 이송 드럼상의 스티커 라벨 표면에 인쇄함으로써 스티커 라벨 관리가 쉬워진다(특허 출원 1982.7, 아래 그림).


그리고 스티커 라벨의 드럼 이송에 수반되는 과제들도 점차 해결해 나갔다. 이송 가이드에서 라벨 접착면을 향해 공기를 분사함으로써 접착면이 가이드에 접촉하여 막힘을 일으키는 것을 방지한다(특허 출원 1983.2, 아래 그림 1장째).
또한 흡인 드럼과 병행하여 배치한 비착 처리한 다수의 롤러(51)로 유도하면서 스티커 라벨을 이송한다. 이에 따라 막힘 및 라벨 접힘을 방지하고 스티커 라벨의 고속 이송이 가능해진다(특허 출원 1983.3, 아래 그림 2장째).


또는 스티커 라벨의 수정 드럼(5)으로 바닥면의 회전 디스크(8)에 부착하는 접착제를 자동으로 제거하는 클리닝 장치(81)를 배치했다. 라벨을 낭비하지 않고 접착제의 제거 작업이 불필요해진다(특허 1983.8, 아래 그림 1장째). 한편 절삭 공정을 포함한 스티커 라벨러를 제안하고 있다(특허 출원 1983.12, 아래 그림 2장째).


대지 위의 절단되지 않은 스티커 라벨을 박리하기 직전에 커터(3)로 칼집을 내서 용기에 스티커 라벨을 부착하고 대지는 감아서 회수하는 것이다. 스티커 라벨의 제조 공정에서 펀칭 공정을 배제함으로써 비용 절감을 도모할 수 있다.
위와 같이 스티커 라벨러 분야에 뒤늦게 진출한 당사는 진공흡인식 드럼 및 연속 라벨 이송 박리 방식이라는 타사에 없는 방식을 활용하여 라벨 부착 정밀도 및 속도를 향상시켰다.
또한 인쇄 장치 및 활자 검사, 불량 라벨 제거 장치 등을 탑재하는 다기능의 종합적인 라벨기로 발전해 나가게 된다. 또, 용기 모양에 맞는 반송 방법 및 부착 방법을 제안하고 있다. 예를 들어 반송 및 라벨 부착이 어려운 앰플 및 주사기와 같은 대상물의 공급 및 반송 방법, 부착 방법을 차례로 확립해 나갔다.
연속 이송 확립과 간헐 이송 스티커 라벨러로의 전환
롤 라벨러 기술을 바탕으로 연속 이송에 의한 스티커 라벨러의 고속화를 추진하여 연속 이송의 완성형을 확립했다(2002년 실례). 이는 수정 드럼, 활자 드럼, 부착 드럼과 같은 흡인식 이송 드럼을 구사한 스타일이다(아래 그림, 사진).


연속 이송 스티커 라벨러의 고성능화
이 연속 이송 스티커 라벨러에는 제약기업의 고품질 요구에 대응하는 다양한 기능을 갖출 수 있다. 게다가 고객 요구에도 유연하게 대응할 수 있는 방식이다. 잉크젯 프린터, 레이저 마킹기 등의 다양한 기종의 인쇄 장치를 탑재할 수도 있다. 또는 활자 검사 및 불량 라벨 배출, 라벨 부착 검사 등을 실시하고 관리하는 다양한 기능을 갖춘 것이었다.
간헐 이송 스티커 라벨러(LK형, LKS형)로의 이행
서보 모터와 제어 시스템 발달에 따라 높은 정밀도의 간헐 라벨 이송이 가능해졌다. 스티커 라벨러의 소형화 및 비용 절감을 위해 간헐 라벨 이송으로의 이행이 이루어지게 된다(아래 그림, 사진).


라벨 이송을 연속에서 간헐로 바꾸는 데는 어떠한 장점이 있을까?
연속 이송 방식에서는 수정 드럼 및 활자 드럼이 탑재되면서 상당한 공간과 그에 따른 비용도 필요해진다. 이에 반해 간헐 이송 방식에서는 부착 드럼의 측면 움직임에 맞춰 라벨을 떼어내 이송할 수가 있으므로 부착 드럼의 지정 위치에 정확하게 스티커 라벨을 전달할 수 있다. 드럼은 진공흡인 기능을 가진 부착드럼 하나가 되고, 기계 장치는 전체적으로 소형화된다.
또한 정지 상태에서 인쇄가 가능한 핫 프린터와 열전사 프린터도 탑재할 수 있다. 이와 함께 라벨 테이블에 부속되는 텐션 롤러 대신에 라벨 완충 장치로 보조 이송 장치를 탑재할 수 있다.
또한 롤 라벨러에서 개발된 신형 라벨 테이블을 탑재하고 대지 권취 테이블을 사용하기 좋게 조작성이 뛰어난 것으로 개량했다. KOYO의 독자적인 라벨 이송 제어 장치를 기판에서부터 제작함으로써 고유의 간헐 라벨 이송 제어 소프트웨어를 작성했다(아래 사진).

이 제어 장치에 의해 정밀도 높은 라벨 이송 제어를 실현하고 라벨 부착 정밀도의 향상에 기여했다. 이러한 제어면에서 하드웨어와 소프트웨어의 양측면에서 기준을 확립함으로써 제어 장치 본체의 비용 절감과 함께 전기 설계 및 래더 작성 등의 작업 공정을 줄일 수 있었다. 이 간헐 이송 스티커 라벨러는 기계 장치와 제어 장치 모두 하드웨어와 소프트웨어 양측면에서 개량이 진행된 것이다.
한편 제약기업의 품질 요구는 더욱 고도화 및 정밀화됐고, 검증이 여러 번에 걸쳐 실시되어 이에 대응하는 하드웨어와 소프트웨어 양측면에서의 성능 향상이 필요했다. 이를 실현하기 위해서는 담당 영업 및 기계 및 전기 설계원, 기계 기술원, 제어 기술자의 협력 등 인적 네트워크를 강화하는 것이 중요했다.
기타 구성 요소의 진보~특히 스티커 라벨러와의 관련
지금까지는 스티커 라벨러의 주요 구성 요소인 라벨 이송/공급 장치의 발전을 중심으로 이야기했다.
라벨러 외의 기타 구성 요소인 부착 방식 및 용기 공급/반송 장치 등에 관해서, 특히 스티커 라벨러에 관련된 기술을 중점적으로 소개하겠다. 물론 이 기술들의 대부분은 호퍼 라벨러와 롤 라벨러에도 적용된다.
부착 스타 휠
주사기 및 앰플, 바이알병 등의 소형 용기의 경우, 스타 휠로 회전 반송하고 있는 사이에 라벨을 부착하는 방법이 채용됐다. 여기서도 회전 운동(공전과 자전)의 연쇄에 따른 라벨링 공정 구축이라는 일관된 방식이 사용됐다. 특허를 통해 그 개발 경과에 관해서 살펴보고자 한다.
이 모델의 원형은 스티커 라벨러 1호기를 출하한 해인 1982년의 출원 특허(‘구동 대 압착 롤러를 장착한 스타 휠’ [1982.9, 아래 그림 1장째])에 잘 나타나고 있다. 부착 스타 휠(5) 안쪽에 스타 휠과 동심의 압착 롤러(6)를 노출시켜, 부착 드럼(1)과 압착 롤러로 용기를 유지하여 강제적으로 용기를 자전시켜 라벨을 부착한다. 이에 따라 라벨이 겉돌거나 접히는 것을 방지할 수 있다. 스타 휠의 포켓부에 접촉하지 않다는 점, 다른 롤러가 유지하고 있지 않다는 점에서 마찰 저항이 없어 원활한 라벨 부착이 가능해진다.
또한 구동원이 장착된 압착 롤러를 소형화해서 부착 스타 휠과 동심이 아닌 모델도 제안하고 있다(특허 1982.12, 아래 그림 2장째). 그리고 압착 롤러를 구동시키지 않고 부착 드럼의 회전만으로 라벨을 용기에 감는 모델에 도달한다(특허 1983.3, 아래 그림 3장째). 부착 스타 휠(5) 안쪽에 프리 상태의 압착 롤러(6)를 노출시켜 부착 드럼과 압착 롤러로 용기를 잡고 자유롭게 용기를 회전시켜 라벨을 부착한다.


구조가 간단하고 회전 속도의 제어가 필요 없어 조정이 쉽다. 한편 ‘산형 표면의 부착 드럼’의 특허(2006.6, 아래 그림)에서는 부착 휠은 아니지만 두 개의 프리 롤러에 눕혀 반송되고 있는 주사기 등의 소형 용기에 라벨을 부착하는 방법이 기재되어 있다. 이 특허의 주안점은 부착 드럼의 바깥 표면을 산형 표면으로 함으로써 모양의 오차가 있는 용기가 섞여 있어도 라벨을 주름 없이 깔끔하게 부착할 수가 있다는 점이다.


신축 롤러를 장착한 부착 스타 휠
이러한 경과를 거쳐 스타 휠에 의한 라벨 부착 방식은 특허 ‘신축 롤러를 장착한 부착 스타 휠’(2009.3, 아래 그림)에서 그 완성형을 확립했다.
부착 스타 휠에 한 쌍의 신축 가능한 용기 유지 롤러를 복수 갖추고, 부착 시에 용기를 부착 드럼과의 3곳에서 선 접촉하여 유지한다. 롤러 신축에 따라 용기가 부착 드럼에 연속하여 압착되어 라벨 부착과 마무리를 동시에 할 수 있다. 3곳의 선 접촉에 의해 용기가 고속으로 회전해도 양호한 수직성을 유지할 수가 있어 라벨 부착을 정확하게 할 수 있다. 이 부착 방식은 드럼과 R 마무리판과 같은 방식을 바탕으로 착안한 것이다. 즉 부착 드럼의 회전에 따라 용기가 자전하면서 공전하여 라벨을 부착하고 감아서 마무리한다는 것이다.
터릿 로터리에 의한 라벨 부착 방식에도 같은 발상으로 착안한 다양한 구조가 고안되어 있다. 당초 이 방식은 ‘롤 라벨러의 개발과 그 발전’에서도 말했듯이 롤 라벨러에 드링크제 등의 소형 용기에 대한 고속 라벨 부착 방식으로써 개발된 방식이었다. 바이알병 등의 더 작은 용기에 높은 정밀도로 비교적 빠르게 라벨을 부착하기 위해서 스티커 라벨러(LKS형)에 채용된 것이다(아래 사진).


불안정 용기의 공급 장치
앰플 및 바이알병(주사약액 충진) 등 불안정한 용기는 공급 및 반송 중에 넘어지는 일이 빈번하여 그때마다 기계 장치의 운전을 멈추고 넘어진 용기를 다시 세워야만 했다. 따라서 생산 효율이 저하됐고, 용기가 넘어지는 것을 방지하는 공급 및 반송 방법이 요구됐다.
환류 가이드를 장착한 용기 공급 컨베이어와 공급 스타 휠(특허 1986.9)
용기를 공급하는 벨트 컨베이어와 그 아래 단계에 스타 휠을 배치한 용기 공급 장치에서는 공급 면적이 점차 줄어드는 ‘축소로’와 공급 면적이 점차 넓어지는 ‘개방로’를 마련한 환류 가이드를 설치하고 있다(아래 그림).
이에 따라 용기가 넘어지거나 정체되는 것을 방지하고 원활한 용기 공급을 실시할 수 있다.


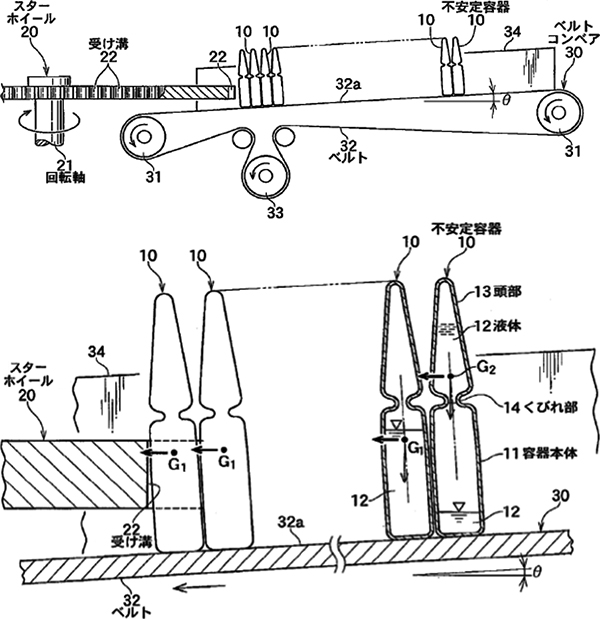
불안정 용기의 공급 장치, 경사 공급 컨베이어와 공급 스타 휠(특허 2009.1)
용기를 공급하는 벨트 컨베이어와 그 아래 단계에 스타 휠을 배치한 용기 공급 장치에서는 벨트 컨베이어의 반송면을 스타 휠을 향해 내리막으로 경사를 주어, 불안정 용기가 스타 휠을 향해 앞으로 기울게 하여 반송한다(아래 그림). 이에 따라 불안정 용기가 넘어지는 것을 방지하고 반송할 수 있다. 용기 공급 컨베이어에 특수한 모양의 환류 가이드를 설치하여 컨베이어 후방부에 환류하는 용기가 넘어지는 것을 방지한다. 이는 실제로 컨베이어에서 반송되는 모습을 관찰함으로써 용기가 정체되거나 넘어지는 것을 방지하는 방법을 실현시킨 것이다. 앰플 집합체가 유동체처럼 움직이는 모습을 관찰하면서, 그 유동체의 특성을 이해하여 생각해낸 모양이다.
또한 공급 컨베이어를 반송 방향으로 기울이는 아이디어는 중심이 높아 넘어지기 쉬운 앰플을 아예 처음부터 한 방향으로 넘어뜨리면 넘어질 일이 없다는 ‘역전의 발상’에서 태어난 것이다. 반송 방향의 스타 휠에 기대고 있는 앰플은 넘어지려고 해도 넘어질 수가 없는 것이다. 이 두 가지 요소의 작용으로 용기 공급이 한층 원활해지면서 불안정 용기에 대한 라벨 부착의 효율화를 도모했다.


직립이 어려운 반송체의 반송
주사기 등의 직립이 어려운 용기를 반송하는 방법으로 몇 가지 반송 수단이 채용되어 실제 기기에 활용되고 있다.
그 한 가지는 수직으로 세운 양측의 컨베이어에 반송체의 돌출부를 걸어서 매달아 수직 상태인 채로 직선 반송하는 방법이다(특허 출원 1998.10, 아래 그림, 사진).


수축 스티커 라벨러에는 주사기에 부착되는 수축 스티커 라벨을 이 반송 상태에서 열풍을 불어 수축시키는 경우도 있다. 또는 스타 휠의 포켓부에 반송체의 돌출부를 걸어서 매달아 회전 반송하는 방식도 병용되고 있다(이하 사진 1장째).
또 한 가지는 앞에서 말했듯이 주사기를 2개의 프리 롤러 위에 눕혀서 반송하여, 그 자세에서 라벨을 부착하는 것이다(이하 사진 2장째). 롤러 위의 주사기는 세로형 스티커 라벨러의 부착 드럼에 접하여 압착되고, 부착 드럼의 회전과 함께 자전하면서 라벨이 부착된다.


라벨 공급부의 승강 장치(특허 1995.3)
라벨의 부착 높이를 변경하기 위해 공급부 상판을 지지하는 스크루축의 회전에 따라 공급부 상판을 승강할 수 있다(아래 그림). 이에 따라 품종을 전환할 때 라벨 부착 높이 변경이 쉬워진다.
다품종을 겸용하는 기계에 대한 요구가 높아지고 있는 가운데, 이 구조는 많은 기종(스티커 라벨러, 호퍼 라벨러, 롤 라벨러)에 채용되어, 매년 출하를 차지하는 비율이 증가하고 있다. 특히 최근에 스티커 라벨러 LKS형 및 LK형에는 거의 이 구조가 탑재되어 있다.


용기 방향 규제 장치
손잡이가 달린 용기나 부정형 용기의 방향을 일정 방향으로 정렬하여 라벨 부착 위치를 한정하기 위해 개발된 장치이다. 그 개요를 소개한다.
손잡이 달린 용기의 스타부 캠 암식 방향 규제 장치(특허 출원 1983.9)
스타 휠의 포켓부로 손잡이 달린 용기를 자전시키면서 반송하여, 용기의 회전을 규제하는 수정 암이 포켓부로 돌출되어 용기의 자전을 정지시킨다(아래 그림 1장째).
이에 따라 손잡이 달린 용기의 일정 위치에 라벨을 부착할 수가 있다. 기존의 광전관을 사용하는 복잡한 장치는 필요하지 않다.
손잡이 달린 용기의 방향 규제 터릿(특허 1993.7)
터릿 로터리의 경우 베이스 컵상의 손잡이 달린 용기를 벨트 구동으로 자전시키면서 방향 규제판의 돌출에 따라 용기의 자전을 멈추게 하고 용기의 손잡이 방향을 정렬하여 부착 드럼으로 라벨을 부착한다(아래 그림 2장째).
터릿 로터리식의 손잡이 달린 용기의 방향 규제는 이 방식으로 실시되고 있다.


오목한 곳이 있는 경량 용기의 방향 규제 장치(특허 출원 2001.5)
소형 경량의 불안정한 오목한 곳이 있는 용기를 스타 휠로 반송하면서 인접한 수정 벨트를 통해 강제적으로 회전시켜 정위치의 용기의 오목한 부분을 부압 흡인부에서 흡착하여 다음 공정으로 전달한다(아래 그림).
이에 따라 지금까지 대응하기 어려웠던 소형 경량의 불안정한 오목한 곳이 있는 용기의 방향 규제를 확실히 할 수 있다.


컨베이어 라인에서의 손잡이 달린 용기의 방향 규제(실례)
손잡이 달린 용기를 반전 벨트를 통해 강제적으로 자전시켜 방향 규제 암의 돌출로 정지시킴으로써 용기의 손잡이 위치를 일정 방향으로 정렬한다(아래 그림).

불량 라벨 제거 장치
용기에 라벨을 부착하기 전에 불량 라벨(인쇄 불량 및 이음매가 남은 라벨 등)을 제거함으로써 불량 라벨이 부착된 용기를 후공정에서 배출할 필요가 없어진다. 이에 따라 불량 라벨 용기의 배출 및 용기에서 라벨을 떼어내는 박리 공정이 생략된다.
이 장치는 당초 롤 라벨러의 불량 라벨 배출에 적용된 방식이지만, 이 방식은 스티커 라벨러에도 적용되어 라벨 관리를 확실히 할 수 있게 된다. 인쇄 불량 및 이종 라벨이 용기에 직접 부착되지 않으므로 배출된 수량을 정확히 파악할 수 있다.
의약품 등에 요구되는 높은 품질 기준에 대응하기 위해 필수 불가결한 장치로, 일본 내외의 스티커 라벨러의 표준 장치로써 일반화된다.
콤식 불량 라벨 제거 장치(특허 1988.11)
부착 드럼으로 라벨을 반송하던 중에 불량 라벨(이음매 및 인쇄 불량 등) 검지 신호에 따라 라벨 제거 콤이 부착 드럼의 홈을 드나들며 불량 라벨을 제거한다(아래 그림 1장째).
이에 따라 용기에 라벨을 부착하기 전에 불량 라벨을 제거할 수 있어 최종 제품은 라벨 유무만 검사하면 된다.
대지 권취식 불량 라벨 제거 장치(특허 출원 2005.12)
부착 드럼으로 라벨을 반송하던 중에 불량 라벨(이음매 및 인쇄 불량 등) 검지 신호에 따라 대지 테이프가 부착 드럼에 돌출되어 접착제를 칠한 라벨에 접촉하여 불량 라벨을 제거한다(아래 그림 2장째).
제거된 불량 라벨은 감아서 보관되고 동시에 불량 라벨 기록과 관리가 정확히 이루어지게 된다.


롤러 장착 콤식 불량 라벨 배출 장치(특허 출원 2007.7)
불량 라벨을 검지하는 센서의 신호에 따라 라벨 제거 콤(내측과 외측)이 부착 드럼의 홈을 드나들며 불량 라벨을 제거하고, 떼어낸 불량 라벨을 한 쌍의 배출 롤러의 회전에 의해 강제적으로 배출한다(아래 그림 1장째). 긴 라벨의 배출에 대응하고 있다.
스티커 라벨의 벨트식 불량 라벨 배출 장치(현행 스티커 라벨러에 장비)
스티커 라벨의 접착면에 불량 라벨 제거 벨트를 돌출하여 감아서 배출한다(아래 그림 2장째). 현행 스티커 라벨러의 표준형으로써 사용되고 있다.

